Predlžovací mostík 320 mm pre hĺbkomery, Mitutoyo
900372
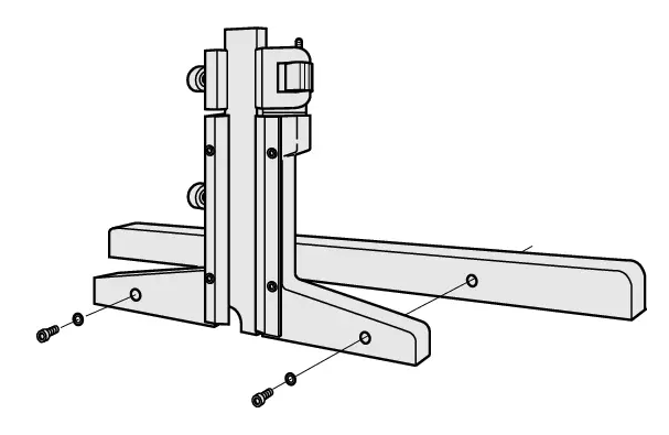
Predlžovací mostík pre hĺbkomery:
- pripevňuje sa k základnému mostíku hĺbkomera pre rozšírenie jeho rozpätia a to až do rozsahu merania 0-300 mm
- nemôže byť pripevnený k modelom s rozsahom merania 0-600 mm, 0-1000 mm
- dĺžka 320 mm
- počet pripevňovacích otvorov: 4 zobraziť viac
Na sklade u výrobcu
Naša cena produktu:
107,00
EUR
/ ks
bez DPH
131,61
EUR
/ ks
s DPH
Tlačiť
Popis produktu
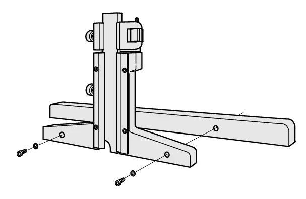
Predlžovací mostík pre hĺbkomery:
- pripevňuje sa k základnému mostíku hĺbkomera pre rozšírenie jeho rozpätia a to až do rozsahu merania 0-300 mm
- nemôže byť pripevnený k modelom s rozsahom merania 0-600 mm, 0-1000 mm
- dĺžka 320 mm
- počet pripevňovacích otvorov: 4
Kód produktu
900372
Dokumenty na stiahnutie:
Tento produkt nemá žiadne dokumenty na stiahnutie














.png&w=60&h=60)
.jpg&w=60&h=60)






























.png&w=100&h=100)
.jpg&w=100&h=100)
















